HOME 製品を探す 7800TM2-3Gシリーズ 3G/HD-SD-SDI対応 デュアル・タイムコード・プロセッサー

7800TM2-3Gシリーズ 3G/HD-SD-SDI対応 デュアル・タイムコード・プロセッサー

7800-TM001
7800-TM002
7800-TM001
7800-TM002

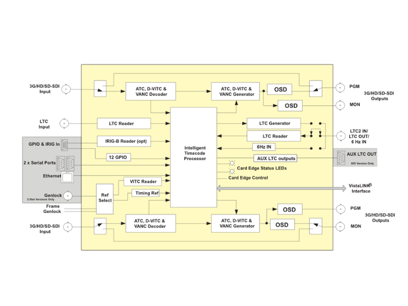
evertzの7800TM2-3Gは、放送業界で長年信頼されてきたHDタイムコードマスター「HD9010TM」の機能を継承・発展させた、3G/HD/SD-SDI対応のモジュール型タイムコードプロセッサーです。 本製品は1枚のカードで独立した2系統(Dual Path)の映像信号処理が可能で、リニアタイムコード(LTC)、デジタル垂直ブランキングタイムコード(D-VITC)、およびアンシラリタイムコード(ATC)の生成・読取・変換(トランスコード)をサポートします。
さらに、高解像度のキャラクターインサーター機能を内蔵しており、タイムコードやユーザービットを映像上にスーパーインポーズ(Burn-in)して確認することが可能です 。Evertzの7800FR/7700FRフレームに実装することで、省スペースかつ柔軟なシステム構築を実現します。
用途に合わせて、基本機能の「7800TM2-3G」、拡張I/Oを搭載した「7800TM2-XIO-3G」、IRIG信号に対応した「7800TM2-IRIG-3G」の3モデルから選択可能です。

製品特徴

マルチフォーマット対応: 3G-SDI (SMPTE 424M)、HD-SDI (SMPTE 292M)、SD-SDI (SMPTE 259M) の信号入力を自動検出し、幅広いビデオフォーマットに対応します。
対応フォーマット例: 1080p (50/60/24sF), 1080i (50/60), 720p (50/60), 525i/625i 等
デュアル・プロセッシング・パス: 独立した2系統のビデオパスを備えており、異なる2つの映像信号に対して個別にタイムコードの生成・読取・変換処理を行うことができます。

柔軟なタイムコード生成・変換

  • Generator: 外部LTCやVBIデータに同期したATC/D-VITCの生成、およびLTCの出力が可能です。
  • Reader: LTC、D-VITC、ATCを読み取り、相互に変換(トランスコード)して再挿入することが可能です。
  • Translation: LTCからATC/D-VITCへの変換、またはその逆の変換をサポートします。

キャラクターインサーター (Burn-in): ジェネレーターやリーダーの時刻・ユーザービットを映像に焼き込むことができます。ウィンドウ位置、文字サイズ、背景マスクの有無などを柔軟に設定でき、MON出力およびPGM出力に表示可能です。

リファレンス同期: 入力映像信号、またはフレームリファレンス(Black Burst/Tri-Level Sync)に同期した安定したタイミング動作を提供します。

リモート監視・制御 (VistaLINK®): SNMPベースの監視制御システム「VistaLINK®」に対応。ネットワーク経由でのステータス監視や設定変更が可能です。

製品仕様

共通仕様

ビデオ入力

  • 規格: SMPTE 424M (3G), SMPTE 292M (HD), SMPTE 259M (SD) 自動検出
  • 入力数: 2系統 (BNC)
  • イコライゼーション: 自動ケーブル補償

ビデオ出力

  • 出力数: 各系統につき PGM出力 x1 (リレーバイパス付)、MON出力 x1
  • コネクタ: BNC

その他

  • 形状: Evertz 7800FR/7700FRフレーム用モジュール
  • 消費電力: 15W (フレームより供給、フレームの電源冗長化可能)

モデル別仕様 (Model Specifications)

モデルにより、占有スロット数および搭載される入出力インターフェースが異なります。

モデル名 占有スロット数 タイムコード入出力
(LTC)
GPIO / Serial / その他
7800TM2-3G 1スロット Unbalanced BNC x1

(In/Out/6Hz In 切替)

・GPIO: なし

・Serial: なし

7800TM2-XIO-3G 2スロット Unbalanced BNC x1

+ Balanced Output x3
(Serialポート経由)

GPIO: 12系統 (DB15)

Serial: 2ポート
(RS-232/422)

Ethernet: 10/100 (タイマー制御用)

7800TM2-IRIG-3G 2スロット Unbalanced BNC x1

(In/Out/6Hz In 切替)

IRIG-B Input: x1 (DB15)

GPIO: 12系統

Serial: 2ポート

 

対応製品・オプション

関連製品